首页 > 新闻频道 > 地方  
赣州中研医院好吗?千万不能误诊
2021-12-21 18:54:13  来源:中国文化报道网  作者:Admin  分享:

 “Oh my god,买它买它!”李佳琦这句直播口头禅的商标之旅再次折戟。根据官网消息,近日,李佳琦所属的美腕公司申请注册这一声音商标被驳回。

据悉,这不是李佳琦首次给这句口头禅申请商标保护,但均被商标局驳回。

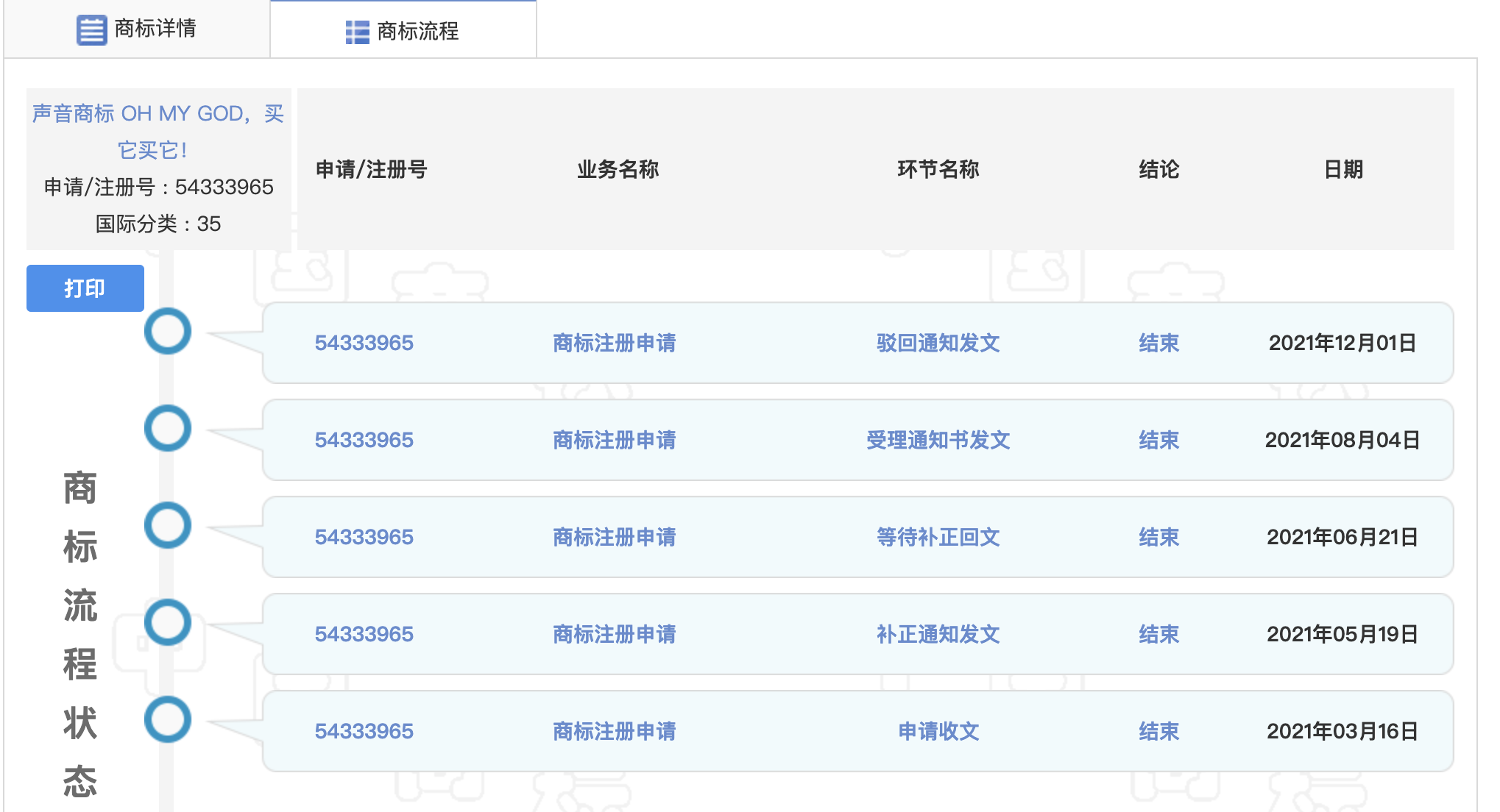
今年3月16日,美腕(上海)网络科技有限公司提出声音商标注册申请。根据描述,该声音商标以节奏较快、音调较高的成年男子人声念出“Oh my god,买它买它!”,全长2秒,语速较快,由英文“Oh my god”及中文“买它买它”组成,文字间无明显停顿。

Oh my god,买它买它!李佳琦两度申请商标均被驳回

这一声音商标的申请/注册号为54333965,国际分类为35类,代理机构为北京金杜知识产权代理有限公司。据悉,第35类商标主要用于广告; 为零售目的在通信媒体上展示商品; 特许经营的商业管理; 商业中介服务; 为商品和服务的买卖双方提供在线市场等等。

Oh my god,买它买它!李佳琦两度申请商标均被驳回

目前,商标54333965的流程状态已经变更为“驳回通知发文”。这意味商标局驳回李佳琦的这一商标申请。

Oh my god,买它买它!李佳琦两度申请商标均被驳回

李佳琦《买它》歌曲MV截图

值得一提的是,李佳琦的首次声音商标申请发生在2020年4月7日。李佳琦方面曾表示,这是为了避免某些卖家恶意使用,进而误导消费者。

当时,李佳琦和美腕公司共同持股的上海妆佳电子商务公司申请注册“Oh my god,买它买它!”声音商标,由江苏省宁海商标事务所有限公司代理。该声音商标的申请/注册号为45217353,国际分类也是35类广告销售。

Oh my god,买它买它!李佳琦两度申请商标均被驳回

与最新申请的商标稍有不同,编号45217353商标的描述更简单——“该声音商标是以成年男子人声念出‘Oh my god,买它买它!’。语速较快,音调较高。”

今年4月28日,商标局对编号45217353商标驳回复审,首次申请以失败告终。

据南都记者了解,声音商标申请注册并非易事。比如腾讯为申请注册QQ提示音“嘀嘀嘀嘀嘀嘀”声音商标耗时四年,终于在2018年注册成功。

根据《商标法》规定,任何能够将自然人、法人或者其他组织的商品与他人的商品区别开的标志,包括文字、图形、字母、数字、三维标志、颜色组合和声音等,以及上述要素的组合,均可以作为商标申请注册。

不仅如此,《商标法》要求申请注册的商标应当有显著特征,便于识别,并不得与他人在先取得的合法权利相冲突。

曾有多位知识产权律师告诉南都记者,成功注册声音商标的案例并不多,主要是因为缺乏显著性,即消费者很难把一个声音当成商标,或有效区分不同声音。另外,单从文字表述来讲,“Oh my god,买它买它!”也不具有独特性。

知识产权律师还提到,如果李佳琦申请注册成功,就意味着其他声音近似的主播带货时说出“Oh my god,买它买它!”,可能会面临侵权问题。

 

相关新闻

    无相关信息

◎版权作品,未经中国文化报道网书面授权,严禁转载,违者将被追究法律责任。




关于我们 - 媒体合作 - 广告服务 - 版权声明 - 联系我们 - 友情链接 - 网站地图

Copyright 2015-2019. 中国文化报道网 www.cgia.cn All rights reserved.

违法和不良信息举报邮箱:jubao@cgia.cn

未经过本站允许,请勿将本站内容传播或复制